

A future iPhone or Apple Watch could have a whole new way to interact with it.USPTO
A new patent suggests that blowing on your iPhone or Apple Watch could see your device react. Might it be ready for this Fall’s iPhone 13 and Apple Watch Series 7?
The patent, spotted by Patently Apple, at first sounds like an April Fool’s joke, and it was published on April 1. But the Patent Office doesn’t indulge in such fripperies.
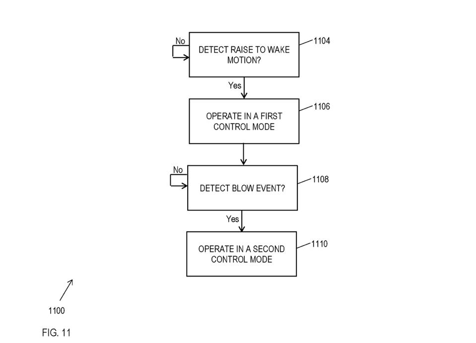
The essence is something called a “blow event”. The patent’s full title is “Blow event detection and mode switching with an electronic device”.
It specifies this: “Portable electronic devices often require a first hand of a user to hold or wear the device and a second hand to physically interact with the device for providing user input commands for controlling the functionality of the electronic device. When a user is unable to directly physically interact with an electronic device for providing input commands, the user experience provided by the device is significantly reduced.”
In other words, using an iPhone is a two-handed experience, and while using Apple Watch is accomplished with one hand, what do you do when both hands are full?

For instance, in the case of the Apple Watch, the patent specifies the scenario of the wearer having both hands full with shopping bags when a call comes in. With the technology in the patent, the user can blow on the Watch to accept the call.
This brings to mind that one very under-used way to interact with a touchscreen can be to use your nose. Raising your Apple Watch to tap it with your nose when your other hand is busy is something I’ve been doing for years. It works well, though it requires real accuracy with your aim, which isn’t always easy, leaving you dabbing at the Watch repeatedly like a poor impression of a woodpecker. Blowing on the gadget sounds easier.
There are applications for other devices beyond Apple Watch. For instance, it could be used to wake a phone, perhaps. The patent refers to a response which sees “the electronic device transitioning from a lower power mode to a higher power mode”. It also specifies this as “an awake or active… mode”.
Making this work requires great precision. As the patent says, “The blow detection assembly detects a change in pressure that is greater than a pressure threshold during the moment in time; and the motion sensor only detects movement of the electronic device that is less than a movement threshold during the moment in time.”
Additionally, the patent recognizes that noise could compromise the pressure sensor’s accuracy, or that of a microphone, which could play a part in this kind of technology.
The patent also describes how waving could be enough to activate the pressure sensor, with different results obtained. Very Minority Report.
And it talks about how blowing more than once could switch the device to a new mode – blow once to answer a call, blow twice to hang up, perhaps.

Or, if you’re using your iPhone to guide you through a recipe and your hands are covered in flour and oil, blowing once would go to the next step, blowing twice would go back to the previous one.
I’ve read through the entire patent, so you don’t have to, and I’m still slightly worried this might be an April Fool’s joke. Of course, it’s not, the work that went into this patent is considerable, but even so, it’s a little on the nutty side.
It’s common for patents to not materialize in products at all, or not for a long time, so it may not be this year’s hardware that sees this revolutionary capability. Apple will need to communicate the meaning and usefulness carefully so people don’t laugh at it but, knowing Apple, it probably has a brilliant use case up its sleeve.
Will we ever see a blow event on Apple gadgets? I’m tempted to say: don’t hold your breath.